

石膏是硫酸鹽礦物質,其化學分子式為 CaSO4·2H2O,在自然界中呈亞穩定狀態,在一定條件下能進行可逆反應。在不同條件下煅燒獲得的產物具有不同的特征。一般工業生產中常見的石膏脫水轉化溫度見圖 1。

圖 1 石膏脫水工藝流程
生產中應注意的是,當溫度提高、脫水速度加快時,在石膏這個不良的熱導體中,常造成溫度表里不一,很容易形成多相混合物。因此,在熟石膏制備過程中,不能忽視物相組成分析,只有采取合理的煅燒制度和工藝措施,才能保證產品的質量。在一定條件下,通過煅燒天然石膏或化學石膏得到的 β— 半水石膏是制作紙面石膏板、纖維石膏板、石膏砌塊和石膏裝飾天花板的主要原料[1]。其石膏煅燒中的化學反應式為:
CaSO·4 2H2O=CaSO·4 1/2H2O+3/2H2O- Q
Q=580.2 kJ/kg
石膏煅燒脫水一般要經過預熱階段(25~95 ℃)、恒速脫水階段(107~130 ℃)和快速脫水階段(130~170 ℃)。原料石膏粉從物料升溫、較長時間地穩定脫水和最后的快速脫水到達需要的脫水相,所需時間因煅燒設備而異?;剞D窯、間歇式炒鍋和沸騰爐的煅燒時間與溫度的關系曲線見圖 2、圖 3、圖 4。


圖 4 沸騰爐的煅燒時間—溫度曲線
目前,國內石膏的煅燒有很多種方式。按照原料的粒度可以分為粉狀煅燒和塊狀煅燒。粉磨后的石膏粉煅燒為粉狀煅燒,煅燒后再粉磨為塊狀煅燒。按照煅燒介質與物料的接觸可以分為直接加熱煅燒和間接加熱煅燒。按照石膏與加熱介質的走向可以分為順流煅燒和逆流煅燒以及錯流煅燒,石膏與加熱介質流向一致為順流煅燒,相反為逆流煅燒,相互垂直為錯流煅燒 [3]。國內用于石膏煅燒的設備主要有流態化煅燒爐、炒鍋、回轉窯、彼得磨、高溫氣流煅燒機等。國內幾種煅燒工藝設備的能耗情況對比見表 1。
常用的幾種煅燒設備介紹如下。

1.1 流態化煅燒爐
生產中流態化煅燒爐是利用流態化技術原理進行工作, 氣流與物料直接接觸,具有換熱效率較高,設備比較緊湊,占地面積較小,初投資較小等諸多優點。缺點是設備本身對進料的狀態、粒級分布和水分要求比較嚴格,控制不當,容易造成騰涌、溝流、結塊等流態化惡化現象,嚴重時會板結、死床,影響生產的連續穩定運行[4]。
1.1 炒鍋
炒鍋以高溫煙氣為熱源,煙氣與物料間接換熱。煅燒石膏物料溫度比較容易控制,具有煅燒產品比較均勻的特點。它要求石膏原料的細度必須達到最終產品的細度。必須保證石膏粉料在達到一次沸騰時保持流態化,否則炒鍋內部會出現脫水速度不均一的情況。影響炒鍋傳熱效率的因素有:炒鍋有效換熱面積、攪拌轉速和攪拌翅的攪拌方式以及原料的粒度和結構等。國內大都使用傳統式的炒鍋,構造簡單,熱效率較低, 設備維護費用高,而且工作環境較差?,F在炒鍋朝著大型化、連續出料、節能型方向發展。
1.2 回轉窯
回轉窯以高溫煙氣為熱源,煙氣和物料可以直接接觸也可間接接觸。據原料硬度的不同,采用先磨后燒或先燒后磨的工藝?;剞D窯能適應原料粒度的變化,運轉穩定,可靠性高。但回轉窯占地面積較大、初投資較大、物料的溫度不容易控制,煅燒的產品質量不容易控制,能耗也高。
1.3 彼得磨
彼得磨的最大優點是將粉磨煅燒一體化,煙氣與物料直接接觸,換熱強度較高,設備比較簡潔緊湊,占地面積較小。但缺點是,對原料品質要求較嚴,特別對原料的雜質含量和原料的品位波動要求較嚴。原料中 SiO2、天然 CaSO4、Ca2CO3 等耐磨和重質的成分含量必須控制在 3%以內,否則將顯著影響粉磨的煅燒粉磨和分選效率,煅燒后產品的品質波動較大。
1.4 高溫氣流煅燒機
高溫氣流煅燒機常用于粉狀石膏的煅燒,具有設備緊湊、占地面積較小、初投資較小等特點。高溫氣體與物料直接接觸瞬間換熱,換熱效率較高。但物料在設備中停留時間較短,系統的熱惰性較差,容易導致煅燒產品的性能波動較大,同時也存在排氣熱損失較大的缺點,煅燒過程中物料易粘壁、堵塞, 影響系統的連續可靠運行。
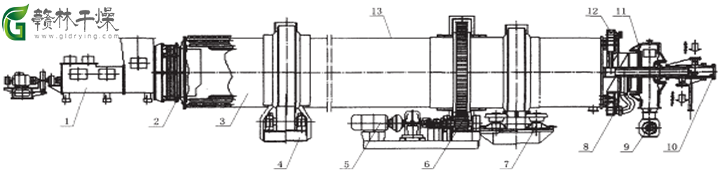
蒸汽回轉石膏煅燒機是大型設備,質量大,結構復雜,由進料、密封、主體、支承、傳動、出料、蒸汽及冷凝水系統等13 部分組成。該機與常規回轉干燥機的差別在于筒內安置了加熱管,貫穿于整個干燥機,加熱管以同心圓方式排成 1~4 圈,干燥所需熱量絕大部分由加熱管提供,物料在干燥器內受到加熱管的升舉和攪拌作用,傾斜度從干燥器的較高一端向較低一端移動,并從設在較低端的排料口排出,汽化出的水分被載濕氣體帶出干燥機。蒸汽回轉石膏煅燒機組的組成如圖 5 所示。

1—混合進料機;2—進料密封;3—機體;4—托輪;5—傳動;6—集中潤滑;7—擋托輪,8—不凝汽體排放;9—出料旋轉閥;10—汽軸;11—出料密封;12—汽室;13—機體保溫
國外采用蒸汽回轉石膏煅燒機煅燒石膏已在工業生產中應用,煅燒產品具有活性較好、制品強度高的特點。而且用蒸汽或導熱油作為熱源,溫度容易控制,煅燒產品的品質容易得到保證。該工藝中,因煅燒石膏的主要熱量由加熱管內的蒸汽或者導熱油提供,相對于空氣或者煙氣直接與物料接觸換熱的設備而言,系統的排氣熱損失大大降低.

石膏煅燒工序流程
粉磨車間的粉狀天然石膏與來自堆場的脫硫石膏混合以后,進入蒸汽回轉石膏煅燒機被加熱管加熱煅燒,煅燒合格的半水石膏,由出料旋轉閥排出,然后,由輸送設備輸送至冷卻系統。夾帶著少量粉塵的廢氣,由布袋除塵器凈化后,經引風機壓縮排空。來自蒸汽總管的飽和水蒸氣進入蒸汽回轉石膏煅燒機的換熱管內,與物料換熱后凝結成水,靠蒸汽的自身壓力排出蒸尾汽回轉至石膏煅燒機,然后輸送至冷凝水回水總管。
舉例***煅燒生產線于2018 年上半年投入生產運行,在生產實踐中表現出了諸多的優點,如設備運轉穩定、可靠性高、能耗低、操作簡單方便、產品的質量均勻穩定等。生產實踐中的系統運行參數如下:
1-產品的名稱及規格:半水石膏粉料,產品細度不大于0.2 mm(約 80 目),堆積密度:880~950 kg/m3,終水分(全部為結晶水):含濕量小于 6.2%,產量:43 000 kg/h。
2-原料名稱及規格:濕脫硫石膏堆積密度 1100 kg/m3,粒度分布不大于 0.2 mm,最大含濕量(表面水)為12%,濕天然石膏堆積密度為 960~1280 kg/m3,粒度分布不大于 0.2 mm,最大含濕量(表面水)為 6%。
3 - 運行參數:煅燒機進料溫度 15 ℃,排料溫度 160 ℃,進風溫度 105 ℃,排風溫度 160 ℃,冷卻機進風溫度 20 ℃,排風溫度 110 ℃,排料溫度 80 ℃,蒸汽壓力 1.8 MPa。
4 - 煅燒后熟石膏粉的性能指標和相成分組成見表 2 。

從表 2 看出,煅燒后的熟石膏粉完全滿足紙面石膏板生產線對所用石膏粉原料的要求,同時完全滿足 GB 9776—88的要求。
4-總結
蒸汽回轉石膏煅燒機以蒸汽作為熱源煅燒天然石膏和脫硫石膏的混合物,熟石膏產量可高達 43 t/h,適合大處理量工業化生產。
設備運轉平穩,可連續生產能力比較強。煅燒系統的能耗較低,煅燒 1 t 石膏需要 0.3 t 蒸汽。蒸汽回轉石膏煅燒機容易實現石膏煅燒的控制,調節蒸汽溫度和壓力就能實現不同品位石膏煅燒的需要。
蒸汽回轉石膏煅燒機實現了天然石膏和脫硫石膏按照一定的比例關系煅燒出合格的石膏粉。
以蒸汽作為熱源的蒸汽回轉石膏煅燒機取得了成功,可以將研究擴大到以導熱油作為熱源用蒸汽回轉煅燒機煅燒石膏上。
今后的研究重點應放在用于脫硫石膏的煅燒上,關鍵是解決脫硫石膏的粘壁和粘換熱管的問題。本系統為贛林干燥自主研發的開路系統,為進一步降低煅燒石膏的能耗,贛林研發團隊將向半開路系統或者閉路系統用于石膏的煅燒邁進。